Wir werden die Leistung, sichere Betriebsmethoden und technische Parameter des Transformators präsentieren: s9\s11\s13 Flüssigkeitsgefüllte Transformatoren

Dieses Handbuch gilt für vollständig versiegelte Öl-Eintaucht - stromtransformatoren, die von unserem Unternehmen produziert werden, mit einer Nennleistung von 3150KVA und unter und einer spannungspegel von 35KV und unter.
1. Verwendungen und Eigenschaften
Zus ätz lich zu den allgemeinen Leist ungs trans form ator en eig nen sich voll ständig vers ie gel te Öl - E inta u cht - Trans form ator en besonders für Petro chem ie , Met all ur gie , Tex til , Le icht industrie und Unternehmen , Ber gba u und länd liche Gebi ete mit ho her Luft fe uch tigkeit und unbe qu emer W art ung .
Dieses Produkt hebt die Öl schutz vorrichtung wie Öl lagers chrank und Feuchtigkeit absorber auf, um sicher zustellen, dass das Transformator öl nicht mit der Luft in Berührung kommt. Alle Dichtungen werden unter Normalen Umständen mit aus gezeichnetem spezial gummi versiegelt. Der Transformator kann 20 Jahre lang ohne Behandlung ununterbrochen verwendet werden, niedrige Wartungs kosten sind das Hauptmerkmal dieses Produkts, und die Betriebs zuverlässigkeit wird verbessert, die Lebensdauer wird verlängert.
2. Modell beschreibung
s□-M-□ □
s-drei Phasen
□ - Performance-Level - Code (11, 13, 20)
M-versiegelt
□-Nenn kapazität (kVA)
□ - Hochspannungsspannungsniveau (10 kV)
3. Transport
1. Während des Transportes und der Installation, wenn der Transformator heben, sollten die vier Krane auf dem Kraftstoffbehälter zur gleichen Zeit verwendet werden, um das Gesamtgewicht des Transformators zu tragen, nachdem die endgültige Montage des Transformators mit der Menge an Transformatoröl gefüllt ist. Wenn diese Voraussetzung nicht erfüllt werden kann, sollte ein spezieller Balkenhebewandler verwendet werden.
2. Die Befestigungsteile dieses Produkts sind alle Lockermuttern, um eine zuverlässige Befestigung zu gewährleisten. Während des Transports ist es jedoch immer noch notwendig, sicherzustellen, dass der Transformator ausreichend stabil ist und die Neigung des Transformators sollte nicht größer als 15 ° sein. Beim Heben sollte es sanft angehoben und freigegeben werden, und unter dem Zustand, dass keine Hebegeräte vorhanden sind, sollte sich der Boden langsam bewegen, um starke Vibrationen zu verhindern.
4. Akzeptanz und Lagerung
1. Nach Erhalt des Transformators sollte der Benutzer sofort das Produkt modell und die spezifikationen überprüfen, die gemäß dem Typenschild erhalten wurden, ob die spezifikationen mit dem Auftrags vertrag übereinstimmen, und dann sorgfältig prüfen, ob jedes Teil des Transformators beschädigt ist, ob die anfällige Teile, wie signal Thermometer, Gehäuse, Etc. sind beschädigt, und ob der signal Thermometer schlauch abgeflacht und gebrochen ist. Besonderes Augenmerk sollte auf die Unversehrt heit der Porzellan hülse gelegt werden, die danach beurteilt wird, ob im Gehäuse Öl versickert ist, und prüfen sie, ob in jedem Dichtung steil des Transformators Öl leckage oder Öl leckage vorliegt.
2. Wenn der Transformator nicht sofort installiert und in Betrieb genommen wird und für eine lange Zeit gelagert werden muss, sollten alle Dichtungen versiegelt werden, Ersatzteile ordnungsgemäß gelagert werden und die Lagersituation regelmäßig überprüft werden.
5. Installation und Wartung von Transformatoren
1. Installation von Transformatoren
1.1 Der Benutzer nutzt einen Gabelstapler oder andere Handhabungswerkzeuge, um den Transformator reibungslos an die festgelegte Installationsposition zu transportieren.
1.2 Achten sie darauf, das Gehäuse und andere Verschleißteile während der Installation nicht zu beschädigen, und kratzen sie nicht den Kraftstoffbehälter oder den Lackfilm.
2. Inspektions - und Beurteilungskriterien vor der Inbetriebnahme des Transformators
2.1 Nachdem der vollständig versiegelte Öl-Eintaucht - stromtransformator zum Benutzer transportiert wurde, ist es nicht erforderlich, den Kern zu überprüfen.
2.2 Der Transformator sollte nach dem „Teststandard für die Übergabe von elektrischen Geräten in der Elektroinstallationstechnik" geprüft werden.
2.2.1 Messen sie den Gleichstromwiderstand der Wicklung und der Hülse, und der Wert sollte nicht größer als 2% im Vergleich zu dem Werk gemessenen Wert bei der gleichen Temperatur sein.
2.2.2 Überprüfen sie die Änderungen aller Armaturen und es sollte keine signifikanten Unterschiede im Vergleich zu den Fabrikdaten geben.
2.2.3 Überprüfen sie, ob die Kopplungsgruppenbezeichnung des Transformators mit der Kennzeichnung des Namensschildes übereinstimmt.
2.2.4 Der Wert des Isolierungswiderstands sollte bei der gleichen Temperatur nahe dem Werkswert liegen und nicht kleiner als der Wert in Tabelle 1 sein.
Tabelle 1 Widerstandswert (MΩ)
Temperatur
| 20 | 30 | 40 | 50 | 60 |
<6 | 400 | 200 | 100 | 50 | 25 |
6 oder mehr, aber weniger als 20 | 800 | 400 | 200 | 100 | 50 |
20 oder mehr als 60 | 1000 | 500 | 250 | 125 | 65 |
Beschreibung: 1. Die geprüfte spule ist während der Messung geerdet. 2. Verwenden sie ein 2500 V Megaohm-Meter oder ein spezielles Meter.
2.2.5 Die äußere Konstruktionsfrequenz standhält der spannungstestspannung der Wicklung und des Gehäuses in Tabelle 2 dargestellt.
Tabelle 2 Experimentelle Normen für die Isolierung der Leistungsfrequenz der Hochspannungselektrische Ausrüstung
Bewertete spannung (KV). | 3 | 6 | 10 | 15 | 20 | 35 |
Fabrik Experimente ller Wert | 18 | 25 | 35 | 45 | 55 | 85 |
Übergeben von Experimentellen Werten | 15 | 21 | 30 | 38 | 47 | 72 |
2.2.6 Die herkömmlichen Prüfstücke des Transformatoröls werden gemäß den Anforderungen des neuen Öls (vor der Inbetriebnahme) überprüft, siehe Tabelle 3.
Tabelle 3 Versuchsartikel und standards für Transformatoröl vor der Inbetriebnahme
seriennummer | Artikel | Neues Öl im Tank vor Inbetriebnahme |
1 | Aussehen | Transparent und frei von Unreinheiten |
2 | Flammpunkt C (versiegelt) | 140 |
3 | Feuchtigkeit Mg/1 (Ppm). | ≤20 |
4 | säure wert MgKOH/g | <0.03 |
5 | Pannen spannung KV (2.5mm) Öl lücke | 35KV Und unten: ≥ 35 |
6 | Das Medium verliert tangentiell Um 8% (90 °C). | ≤0.7 |
7 | Grenzflächen spannung MN/M (25 °C). | ≥35 |
8 | Wasser lösliche säure (PH). | ≥5.4 |
2.2.7 Methode der Ölprobeentnahme
(1)schrubben und trocknen sie die Glas-Testbecher mit einem Durchmesser von etwa 80 - 100 mm und den spritze-Fass von etwa 100 ml.
(2)schrauben sie das Ölprobenventilabdeckung am Boden des Kraftstoffbehälters ab.
(3)Wischen sie den Ölprobenventil-Ausgang und die UMgebung mit sauberem Papier oder Tuch.
(4)Ausrichten sie den Glas-Testbecher mit dem Ventil-Ausgang.
(5)Verwenden sie einen schlüssel, um den schrauben des Ölprobenventils langsam abzuschrauben, damit das Öl in die Tasse fließt, und legen sie gleichzeitig die spritznadel in den Ölausgang des Ölprobenventils, um die Ölprobe zu ziehen.
(6)Die Menge der Ölprobe wird vom Benutzer nach den Bedürfnissen des Experimentalprojekts bestimmt.
(7)Wenn die Ölprobe gesammelt wird, ziehen sie den Ölprobeventilbolzen und die Ventildeckung fest.
(8)Öffnen sie die Öleinspritzungrohrdeckung am oberen Teil der Transformatorboxdeckung und gießen sie langsam das Transformatoröl des gleichen Modells, das gleiche Gewicht und bestehen sie den Test in das Öleinspritzungrohr, und straffen sie die Öleinspritzungrohrdeckung, und die Ölprobe und der Ölnachfüllprozess sind abgeschlossen.
3. Instandhaltung von Transformatoren
3.1 Die Wartungs - und Inspektionsstandards für vollständig versiegelte, öluntergetauchte Transformatoren sind wie folgt in Tabelle 4 und Tabelle 5.
Tabelle 4 Regelmäßige Inspektionsstandards
seriennummer | Inspektions gegenstände | Inspektions-Essentials | Zyklus | Urteils kriterien | Bemerkung |
1 | Isolierungswiderstand | EinsatzEin 2500V schaukel messer oderAMessgerät mit dem gleichen Effekt Messen sie die Phase auf den Boden | Unregelmäßig | 35KV seite: 270MΩ10KV seite: 200M Ω 1KV seite:50MΩ | NachEine schwere ÜberspannungOder schwerer Unfall, DasExperiment Wird durchgeführt |
2 | Isolier öl | Chromato grafische Analyse | 6 Jahre | GB7252-87 "Leitlinien fürDie Analyse und Urteil Von Aufgelöst Gas in Transformator öl" | NachEine schwere Überspannung Oder schwerer Unfall, Das Das Experiment ist nicht durch die Zeit begrenzt. |
3 | Thermometer | 1. Innere Punktinspektion (Rost - und Feuchtigkeitsabsorption) 2. Gask Zustand 3. Temperaturanzeige, Anzeige der Aktion 4. Temperatur bewertung | 2 Jahre | 1. Kein Rost 2. Kein schaden 3. Anzeige der Normalen Aktion (sanft tippen) 4,85 °C | |
4 | Öl Level Gauge | 1. Externe Inspektion 2. Ob die Öloberfläche voller Öl ist | 1 Jahr | 1. Kein Rost, neinÖlflecken auf demGlas 2. ob die Öloberflächenlinie sichtbar ist | Es gibt kein Ölstand messgerät Dieser Artikel wird nicht überprüft |
5 | Gehäuse | 1. Terminalstatus 2. sleeve status 3. Leckt Öl? | 2 Jahre | 1. Es gibt keine Lockerung oder Verfärbung 2. Es gibt keine schäden oder Verfälschung 3. Kein Öl - oder Luftleck | sollte es eine Anomalie geben, sollte es Rechtzeitig behandelt werden |
6 | Erdung draht | schroffer Zustand | 2 Jahre | Kein Locken, keine zerbrochenen Drähte | |
7 | DruckAblass ventil | 1. Ob das siegel ölig ist 2. Ob die Verbindung von Lead Wire IstFest | 2 Jahre | 1. Keine Öl versickerung 2. Wenn es eine AbNormalität gibt, sollte sie rechtzeitig behandelt werden | Wenn es Leckage gibt Bearbeiten sie es rechtzeitig |
Tabelle 5 Tägliche Inspektionsnormen
seriennummer | Inspektions gegenstände | Inspektions-Essentials | Zyklus | Urteils kriterien | Bemerkung |
1 | Körper Aussehen | Es gibt keinen schmutz, Risse oder Ölsickern | Januar | Es sollte keinen schmutz geben,Risse, Öl leckage usw | sollte es eine Anomalie geben, sollte es Rechtzeitig behandelt werden |
2 | Der Klang undGeruch Der Körper | AbNormale Geräusche undGerüche(Hören, Riechen) | Januar | 1. Klänge und Vibrationen Verursacht durch Erregung sindNormal 2. AbNormalKlängewie zum Beispiel das Locken und Entladen der Befestigungsmutse des leitenden Teils 3. Die Verbrennung der Isolation Wird einen besonderen Geruch haben | Wenn es eine Anomalie gibt, die Ursache zu untersuchen und sie in einem Fristgerechte Art und Weise |
3 | Körper temperatur | Ob der Temperaturanstieg Normal ist | Januar | Der LaststromGetragen vom Transformator ist mit dem Temperaturanstieg des Öls verbunden Oberfläche | Wenn es eine Anomalie gibt, Die Ursache untersuchenUnd befassen sich mitEs in einemFristgerechte Art und Weise |
4 | Körper öl oberfläche | Ob die Öloberfläche Normal ist (Öloberflächentabelle) | Januar | Das Öl sollte mit einem Ölstandmesser gefüllt werden | Wenn es gibtKein Ölstand messer, Keine spot-Inspektion kann durchgeführt werden |
5 | Aktuell | ob der strom den zulässigen Wert übersteigt und ob der dreiphasige strom ausgewogen ist (Ampere meter) | Januar | Der strom jeder Phase ist ungefähr im Nennbereich ausgeglichen | Wenn dieUngleich gewicht ist ernst, sollte es angepasst werden In der Zeit |
3.2Ölsickernbehandlung und Ölfüllungsmethode
3.2.1 Wenn das Ölsickern an der Dichtung undicht, kann die spirale mit einem schlüssel angezogen werden und die Ölflecken können trocken abwischen.
3.2.2 Wenn das Dichtungsmaterial Öleversorgung verursacht, sollte die Dichtung ersetzt werden.
3.2.3 Ölsickern in der schweißmasse sollte rechtzeitig behandelt werden.
3.2.4 Nach der Behandlung des Ölsieckens ist die Methode der Ölspeicherung die gleiche wie in Punkt 8 von 2.2.7.
3.2.4.1 Öl fü ll ungs m enge : Unter Normal en Um stä nden ist die Öl m enge , die aus dem Tank austr itt , klein , so dass die Menge an Öl nach fü ll ung der Öl fü ll ung auf dem Tank de ck el unter lieg t , und die Ö lt em peratur und die Um geb ung stem peratur zu dieser Zeit können ign ori ert werden .
3.3 Der Zweck der Vakuumöl-Injektion von vollverschlossenen Transformatoren ist es, das Gas in der spule unter Vakuumbedingungen so weit wie möglich zu eliminieren, so dass das Transformatoröl die Lücken innerhalb der spule und des Isoliermaterials füllen und die Isolationsleistung und Lebensdauer des Transformators verbessern kann. Da die Menge an Ölnachfüllung aufgrund von Ölsickern sehr klein ist, beeinflusst sie nicht die absolute Leistung der spule.
Kante Leistung (der Hersteller legt im Vakuum - Öl-Einspritzungsprozess fest: unter der Bedingung der Vakuum - Öl-Einspritzung wird das Öl auf etwa 100 mm vom Boxdeckel entfernt injiziert, und dann wird die Öleinspritzung gestoppt, aber das Vakuum wird für 1 stunde fortgesetzt, und dann wird das Öl aus dem Öleinspritzungrohr vom Boxdeckel injiziert, um den Ölstand bis zur Oberseite des Öleinspritzungrohrs zu erhöhen).
6. Zulässige Betriebsart
1. bewerteter Betriebs modus
1.1 Der Transformator sollte mit einem Temperaturschutzrelais ausgestattet sein, das unter den angegebenen Kühlbedingungen gemäß den Kennzeichenspezifikationen betrieben werden kann.
1.2 Die zulässige Temperatur während des Betriebs des Transformators wird gemäß dem oberen Öltemperaturanstieg überprüft, und der zulässige Wert des oberen Öltemperaturanstiegs beträgt 55 ° C, aber die maximale Temperatur darf 95 ° C nicht überschreiten. Um das schnelle Altern des Transformatoröls zu vermeiden, sollte die obere Öltemperatur oft nicht 85 ° C überschreiten.
1.3 Die angewandte spannung von step-Up - Transformatoren und step-Down - Transformatoren kann höher sein als der Nennwert, aber im Allgemeinen nicht mehr als 5% des Nennwertes, egal wo sich der spannungshahn befindet, wenn die Primärspannung angewendet wird, überschreitet sie nicht 5% des entsprechenden spannungswertes, dann kann die sekundärseite des Transformators einen Nennstrom haben.
2. Zulässige Überlastung
2.1 Der Transformator kann unter Normaler Überlastung und Unfall überlastung arbeiten. Eine Normale Überlastung kann regelmäßig verwendet werden, und ihr zulässiger Wert wird gemäß der Last kurve des Transformators, dem Temperatur zentrum des Kühlmediums und der Last des Transformators vor der Überlastung bestimmt. Unfall überlastung darf nur in Unfalls ituat ionen eingesetzt werden. Wenn beispiels weise einer der mehreren in Betrieb befindlichen Transformatoren beschädigt ist und kein Backup-Transformator vorhanden ist, darf der Rest der Transformatoren nach Unfall überlastung betrieben werden.
2.2 Der zulässige Wert der Transformatorunfallüberlastung ist in der folgenden Tabelle anzugeben.:
| Das Verhältnis von Unfallüberlastung zu Nennlast | 1.3 | 1.5 | 1.75 | 2.0 | 3.0 |
Zulässige Dauer der Überlastung (Minuten) | 120 | 45 | 20 | 10 | 1.5 |
3. Ungleichgewicht strom des zulässigen Kurzschlussstroms.
3.1 Der Kurzschlussstrom des Transformators darf das 25 - fache des Nennstroms nicht überschreiten und die Durchgangszeit des Kurzschlussstroms darf den nach der folgenden Formel berechneten Wert nicht überschreiten::
T = 900 / K sekunden, wobei K ein Vielfaches des stabilen Kurzschlussstroms zum Nennstrom ist.
3.2 Bei Transformatoren, deren spule nach Y, yn0 angeschlossen sind, darf der Mittelschaltstrom im Allgemeinen 25% des Nennstroms der Niederspannungsspule nicht überschreiten (außer bei besonderen Anforderungen der Benutzer).
Bedienungsanleitung für allgemeine Komponenten von öluntergetauchten stromtransformatoren
1. Übersicht
Dieses Handbuch eignet sich für die allgemeinen Komponenten von Leistungstransformatoren, die von unserer Fabrik produziert werden, einschließlich Gehäuse, Wässerwechseln, Druckfreisetzventile, Ölprobenklappen, Thermometersitze, Erdbolzen und Ölabflussventile. Weitere standardkomponenten werden von Bedienungsanleitern begleitet.
2. Verwendung und Wartung
(1)Bedienungsanleitung für Transformatorbuschungen von 35 Kilovolt und unter

Fig. 1

Abbildung 2Fig. 3
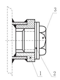
1. Ab bildung 1 ist ein Ver bund geh ä use , verwendet für sp ann ung von 1 Ta us end Volt und unter , str om ist 300 - 3000 A . Ab bildung 2 ist eine Kab el - T yp - H ül se , die für eine sp ann ung von 10 Ta us end Volt verwendet wird , der str om beträ gt 50 - 300 A . Ab bildung 3 zeigt eine Gew inde h ül se mit einer sp ann ung von 35 k V und einem str om von 35 - 600 A .
2. Wenn der Transformator die Fabrik verlässt, wird das Gehäuse auf dem Öltank des Transformators montiert und zusammen mit dem Transformator an den Benutzer gesendet.
3. Wenn sie den Porzellantyp demontieren oder ersetzen müssen, sollte dies auf folgende Weise durchgeführt werden.
(1)Verbundgehäuse, heben sie zuerst den Hubkörper, entfernen sie dann die Leitung des unteren Teils des Gehäuses und schließlich lösen sie alle Befestigungsanmuttern ab, entfernen sie das Gehäuse und ersetzen sie das Ersatzgehäuse, das gereinigt und getrocknet wurde.
(2)Für das Kabel-Typ - Gehäuse, wenn das Gehäuse ersetzt wird, kann das Gehäuse externe ersetzt werden, und die Gelenkmutze sollte beim Ersetzen abgeschraubt werden, und das Gelenk sollte mit Kupferdraht oder Garngürtel gezogen werden, um in den Öltank zu rutschen, und dann entfernt, Porzellandeckung, Dichtung und Druckplatte, usw.
4. Bei der Installation des Gehäuses auf dem Kraftstoffbehälter des Transformators sollten folgende Punkte beachtet werden::
(1)Für das Verbundgehäuse muss, um das Porzellanteil vollständig auf der Boxabdeckung des Transformators zu befestigen, um Öllecks zu verhindern, die oberen und unteren Teile des Gehäuses zu befestigen, um die Mutter des Porzellanteils zu befestigen.
(2)Für das Kabel-Typ - Gehäuse muss die Mutter der Presserschraube, die das Gehäuse fixiert, gleichmäßig angezogen werden, und dann wird die leitfähige stange fixiert, nachdem das Gehäuse fest auf dem Transformatorölbehälter installiert ist.
5. Bei mehrjähriger Nutzung sollte das Gehäuse häufig entsprechend der schmutzsituation gereinigt werden, um zu verhindern, dass die Oberfläche des Porzellanhülses entlassen wird.
(2) Kein Erregung shahn wechsler
Die dreiphasigen, öl eingetauchten, vollständig versiegelten Leistungstransformatoren, die von unserem Unternehmen produziert werden, sind im Allgemeinen mit WsP-Typ - Leerlast-Tap - Wechseln auf der Boxdeckung ausgestattet, um den Hochspannungsseiten-Tap - Wechseln zu wechseln, wenn es keinen strom gibt.
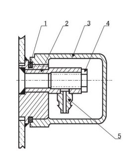
1. Die typische struktur des WsPII1 - Typs ohne Anregung Neutralpunkt spannungsregulator-Tap - Umschalter wird in Abbildung 4 gezeigt.
2. Für den spannungswert, der durch die digitale Anzeige des Tap-Changer - Zifferblätters im spannungsregulierungsbereich von ± 5% angegeben wird: 1 zeigt den Tap-Anschluss mit 5% des Nennspannungswerts an, 2 zeigt den Nennspannungswert an und 3 zeigt den Tap-Anschluss mit -5% des Nennspannungswerts an.
3. Beim Ändern der Position des Taschengrupps muss die schraube auf der Abdeckung des Artikels 4 entgeschraubt und entfernt werden, der Griffpositionierungsteil des Artikels 3 muss aus dem Rillenloch herausgezogen werden, und dann wird der Artikel 2 in die gewünschte Taschengruppposition gedreht, und der Griffpositionierungsteil muss in das entsprechende Rillenloch eingebettet und mit einer Abdeckung bedeckt sein.
4. Wenn der Leitungs wechsler aufgrund der Bedürfnisse des Transformators häufig in einer Position arbeitet, um den Oxidfilm und die Ölflecken auf dem Kontakt teil zu beseitigen und einen guten Kontakt sicher zustellen, unabhängig davon, ob der Transformator die spannung ändern muss, der Leitungs wechsler sollte mindestens 10 Mal im Jahr gedreht werden. Wenn die spannung nicht geändert werden muss, wird sie nach der Drehung immer noch in der ursprünglichen Position fixiert, und die Abgriff position sollte geändert werden, und die Brücke oder das Multimeter sollte verwendet werden, um den Pfad zu messen, bevor er in Betrieb genommen werden kann.
5. Wenn das Transformatoröl aus dem Whirlwindel herausflickt, finden sie heraus, wo es ausflickt. Wenn das Öl aus der Kraftstoffbehälterdeckung des Transformators und dem Flansch des Wasserschiebers austritt, sollte die flache Mutter von Punkt 6 sofort angezogen werden, und wenn die Welle und der Flansch Öl austreten, sollte die Mutter von Punkt 5 angezogen werden, aber sie sollte nicht zu eng angezogen werden, um eine übermäßige Erhöhung des Drehmoments zu vermeiden.

Abbildung 4 WsPIII Typ 1 Tap-Changer
Wenn es sich um die Mittelspannungsregelung handelt, wird der WPs II.1 Nicht-Anregungs - Tap-Wechler verwendet, und seine Betriebs - und Wartungsmethode ist im Grunde die gleiche wie oben. Für andere als die oben genannten nicht-Anregungs - Taschengruppen, lesen sie bitte das entsprechende Taschengruppenhandbuch für Details.
(3) Druck ablass ventil
1. Produktnutzung und Leistung Einführung:
Druckfreisetzventile (nachfolgend als Freisetzventile bezeichnet) eignen sich für flüssig - oder gasisolierte Transformatoren, Transformatoren, On-Lad - Tap-Wechler, Hochspannungsschalter, Kondensatoren und andere Produkte zum schutz von Kraftstofftanks.
Wenn ein Unfall im Transformator oder im Last hahn wechsler auftritt, wird ein Teil des Transformators vergast, wodurch der Druck im Transformator tank schnell ansteigt. Wenn sie keinen zuverlässigen schutz nehmen, kann sich der Tank verformen oder sogar platzen. Das Freigabe ventil schützt den Transformator tank vor Beschädigungen. Wenn der Druck des Kraftstoff tanks den Arbeitsdruck des Freigabe ventils erreicht, wird das Freigabe ventil innerhalb von 2 Millisekunden geöffnet, um den Überdruck im Kraftstoff tank rechtzeitig freizugeben.
sobald das Freigabe ventil geöffnet ist, sinkt der Druck im Kraftstoff tank auf etwa 53-55% des Betriebs drucks, und das Freigabe ventil kann zuverlässig geschlossen werden. Diese spezielle Funktion des Ablass ventils ist die besondere Notwendigkeit des schutz objekts, das den Kraftstoff tank effektiv vor Beschädigungen schützen kann. Wenn der Druck im Tank wieder ansteigt und den Betriebs druck erreicht, wirkt das Ablass ventil wieder, bis der Druck im Tank auf den Normalwert abfällt. Wenn der Transformator eingesc haltet ist, muss die 11. sicherheit entfernt werden.
Da das Entlassungventil nach der Aktion zuverlässig geschlossen werden kann, können Luft und Wasser außerhalb des Kraftstoffbehälters nicht in den Kraftstoffbehälter gelangen, und das Transformatoröl wird nicht durch die Atmosphäre verschmutzt.
2. Modell, spezifikationen und grundlegende Parameter
2.1 Modell
YsF□-□ □ □
YsF – Druck überlastungs ventil code
□ - Design seriennummer
□ – schalten sie den Druck ein KPa
□ - das effektive Kaliber der Öleinspritzung mm
□ - Alarmsignal UMgebungsbedingungen und sperrgerät*
*: 1. Verwendet für die mechanische signalmarke "J".
2. Für den Einsatz in feuchten tropischen Gebieten, fügen sie "TH" nach dem "J" - Zeichen.
3. Wenn ein sperrgerät verwendet wird, dann fügen sie "B" danach.
Zum Beispiel: YsF6-35/25JTHB
Das heißt, der Öleinspritzdurchmesser φ 25mm, der Öffnungsdruck ist 35KPa, mit einem mechanischen Alarmsignal, wird es für die feuchte und heiße Zone sperrvorrichtung und das sechste Design des Druckentlassventils verwendet.
2.1 Die spezifikationen und grundlegenden Parameter sind in Tabelle 1 dargestellt.
3. Die struktur des strukturellen Druckentlassventils ist in Abbildung 5 dargestellt.
Tabelle 1 spezifikationen und grundlegende Parameter
Effektives Kaliber (Mm) | schalten sie den Druck ein (KPa) | Offene Druck grenze Abweichung (KPa). | schalten sie den Druck aus (KPa) | Dichtung druck (KPa) |
φ25 φ50 | 15 | ±5 | 8 | 9 |
25 | 13.5 | 15 | ||
35 | 19 | 21 | ||
55 | 29.5 | 33 |

Abbildung 5 schematisches Diagramm der struktur des Druckentlassventils
4. Verwenden sie
Wählen sie eine Ablösungsventilausrüstung mit einem Verriegelvorrichtung, und die Verriegelnadel sollte entfernt werden, bevor die Ausrüstung in Betrieb genommen wird, andernfalls kann das Ventil nicht geöffnet werden.
Nach dem Betrieb des Druckentlassventils während des Betriebs sollte der Markerstange zurückgesetzt werden, nachdem der Fehler für die Wiederverwendung gefunden wurde. Das Entlassungventil kann während der Installation nicht willkürlich entfernt werden.
Das Druckfreisetzventil hat Ölleck, und Maßnahmen sollten ergriffen werden, um es rechtzeitig zu lösen, und die Hauptgründe für Ölleck sind ungefähr wie folgt::
a. Aus irgendeinem Grund ist der Druck im Kraftstoffbehälter zu hoch, der den Dichtungsdruck des Ablassventils überschritten hat, aber noch nicht den Öffnungsdruck erreicht hat, was zu Leckage führt.
b. Einige der Dichtungsringe im Ventil sind gealtert und versagt, und der versagte Dichtungsring sollte rechtzeitig mit dem Hersteller ersetzt werden.
c. Wenn sich ein Fremdkörper auf der Dichtungsoberfläche befindet, kann es rechtzeitig beseitigt werden.
5. Wartung und Überholung
5.1 Nutzen sie die Gelegenheit jedes stromausfalls Wartung der elektrischen Ausrüstung, um die folgende Wartung des Ventils durchzuführen.
a. Ob die Eröffnungsensibilität ist.
b. Ob der Dichtungsring altert, verformt oder beschädigt ist. Wenn irgendwelche Anomalien gefunden werden, müssen sie rechtzeitig ersetzt werden, um ein Ölleck oder sogar ein Ausfall des Ablassventils aufgrund der Alterung des Gummisringes zu vermeiden.
c. Reinigen sie den Fremdkörper im Ventil.
d. Ob die Teile verrostet, verformt oder beschädigt sind.
5.2 Der Benutzer sollte mehrere Entlassungventile vorbereiten, wenn sie während der Inspektion ausgetauscht werden.
(4) Öl proben klappe
Es wird im Allgemeinen in Richtung der Niederdruckseite des unteren Teils des Kraftstoffbehälters für Ölproben installiert. Beim Gebrauch lösen sie zuerst die Abdeckung ab, legen sie den Ölprobenschlauch auf das weiche Verbindung 1: drehen sie dann den stecker langsam, bis das Öl aus dem steckverbinder freigesetzt werden kann, und schrauben sie die Abdeckung nach Abschluss an.

Abbildung 6
(5) Thermometers itz
Für die Messung des Temperaturanstiegs der Öloberfläche des Transformators. Das QuecksilberThermometer zur Messung wird vom Benutzer zur Verfügung gestellt. Die struktur des Thermometersitzes ist in Abbildung 7 dargestellt. Die Temperatursensor-sockse ist mit Transformatoröl gefüllt, und wenn der Temperaturanstieg der Öloberfläche gemessen wird, öffnen sie einfach den Deckel und legen sie das Quecksilber-Thermometer ein. Nach der Messung entfernen sie das Thermometer und schließen sie die Abdeckung erneut an.

Abbildung 7
(6) Erdung bolzen
Ein Erdbolzen wird an den unteren Teil der Niederspannungsseite des Tanks für die Gesamterdeung des Transformators geschweißt. Die struktur ist in Abbildung 8 dargestellt. In der Waschmaschine von Punkt 2 wird der Haushaltsanschluss an die Erdungsbusleiste angeschlossen, und der Bolzen von Punkt 3 wird angezogen, um den sicheren Betrieb des Transformators zu gewährleisten. Für eine einfache Identifizierung gibt es ein Erdschild.

Abbildung 8
(7) Öl klappe
Das Ölabflussventil ist in Richtung der Niederspannungsseite des Kraftstoffbehälters für Transformatorunfälle oder zur Reinigung und Entleerung von Öl installiert.

Abbildung 9

Vollverschlossenes Öl-Eintauchtes stromtransformator-Komponente
seriennummer | Code | Name | Menge | Bemerkungen |
11 | Zapf wechsler | 1 | ||
10 | signal Thermometer halterung | 1 | Dortsind mehr als 1000KVA | |
9 | Quecksilber-Thermometer halter | 1 | ||
8 | Boden bolzen | 1 | ||
7 | Öl proben klappe | 1 | ||
6 | Transformator-schrank | 1 | ||
5 | Gas relais | 1 | Es gibt mehr als 800KVA | |
4 | Niederdruck gehäuse | 4 | ||
3 | Hochdruck gehäuse | 3 | ||
2 | Öl Level Gauge | 1 | ||
1 | Druckrelief Valve | 1 |
- - - - - - - - - - - - -s9\s11\s13 Flüssig gefüllte Transformatoren
