Wir präsentieren die Leistung, sichere Betriebsmethoden und technische Parameter der KYN28 - 12 Mittelspannungsschaltanlage

Nutzen von Umweltbedingungen
◆ Umgebungstemperatur: Obergrenze 40 ° C Untergrenze -10 ° C in allgemeinen Bereichen:
◆ Höhe: 1000m;
◆ Feuchtigkeit:
Relative Luftfeuchtigkeit: Der tägliche Durchschnitt ist nicht größer als 95% und der monatliche Durchschnitt ist nicht größer als 90%;
Wasserdampfdruck: Der tägliche Durchschnitt ist nicht größer als 2,2 KPa und der monatliche Durchschnitt ist nicht größer als 1,8 KPa
Kondensation kann auftreten, wenn die Temperatur sinkt, begleitet von Schmutz, und dieses Produkt ist geeignet für zwei Umweltbedingungen, die härter sind als die folgenden normalen Bedingungen::
(1) seltener Kondensation (nicht mehr als zweimal im Monat im Durchschnitt) mit leichten Schmutz;
(2). Im Allgemeinen keine Kondensation (nicht mehr als zweimal pro Jahr im Durchschnitt) mit schwerer Verschmutzung;
◆ Es gibt keine Brand - und Explosionsgefahren und schwere Verschmutzung genug, um Metall zu korodieren und Isolation und andere harte Orte zu beschädigen;
◆ Es gibt keine heftigen Vibrationen, Beulen und vertikale Neigung von nicht mehr als 80;
Hinweis: (1) Lagerung und Transport sind bei -30 ° C erlaubt;
(2)Wenn die Höhe 1000m überschreitet, muss es in Übereinstimmung mit JB / 2102 "Technische Anforderungen für Höhenbereiche für die Verwendung von elektrischen Hochspannungsgeräten" behandelt werden; Wenn die Höhe 2000m nicht überschreitet, müssen die Niederdruck-Hilfsgeräte keine Maßnahmen ergreifen;
(3)Wenn sich die tatsächlichen Nutzungsbedingungen von den oben genannten unterscheiden, sollte dies zwischen dem Benutzer und dem Hersteller verhandelt werden.
Modell und Bedeutung
k Y n 28 bis 12 / □ - □
Rating - Rating Breaking Short Circuit Strom (KA)
Rating - Rating aktuell (A)
Rating - Rating Spannung (KV).
└─Design Seriennummer
└─Innerhalb
└─ Bewegen Sie den Typ
- Das Metall Rüstung
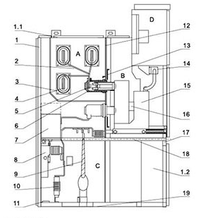
Schematisches Diagramm der Struktur der Schaltgeräte
Fig. 1

A. Circuit Breaker compartment B. Busbar-Abteilungen
c. Kabelzimmer d. Relay Instrument Raum
1. Busbar 2. Statische Kontaktplatte 3. Circuit Breaker
4. Schalter Schalter 5. Aktueller Transformator
6. Kapazitive Spannungsplitter 7. Lightning-Arrest
Fig.2 Schematisches Diagramm der Schaltgerätestruktur

1. Wohnung 2. Zweig kleine Busbar 3. Busbar Sleeve 4. Hauptbusbar
5. Statisches Kontaktgerät 6. Statische Kontaktbox 7. Aktueller Transformator
8. Schaltschalter 9. Kabel 10. 11 Verhaftung. Grounding Hauptbus
12. Lade - und abnehmbare Partition 13. Fläche (Flap) 14. Sekundärplug
15. Circuit Breaker Handcart 16. Heizgerät 17. Extraktionsfähige horizontale Partition
18. Schalter-Betriebsmechanismus 19. Basisplate
A.Busbar Zimmer B. Circuit Breaker Handcart Raum C. Kabelzimmer d. Relay Instrument Raum
1.1. Druckentlastungsvorrichtung 1.2. Kleine Trunking-Kontrolle
Erfüllen Sie die Standards
Das Produkt erfüllt folgende Standards:
1.IEC-298
2.GB3906-1991
3.DLT404-19974. GB / T11022 / 1999
Primäres Wiring-Schema
| Schema Nummer | 001 | 002 | 003 | 004 | 005 | |
Primärroute Diagramm |
| |||||
| Aktuelle Bewertungen (a). | 630-4000 | |||||
Einer Times Host will Strom Utilizer Yuan Item | Vakuum-Circuit Breaker | 1 | 1 | 1 | 1 | 1 |
| Stromtransformator LZZBJ9 - 12 | 2 | 2 | 2 | 3 | 3 | |
| Spannungswandler RZL / REL | ||||||
| Hochdruckschalter (XRNP □) | ||||||
| Erdungsschalter (EK6 / JN15-12) | 1 | 1 | 1 | |||
| Überspannungsschreiber HY5WZ - 17 / 45 | 3 | |||||
| Nutzen | Stromempfang und Fütterung | Stromempfang und Fütterung | Stromempfang und Fütterung | Stromempfang und Fütterung | Stromempfang und Fütterung | |
| Schema Nummer | 006 | 007 | 008 | 009 | 010 | |
Primärroute Diagramm |
| |||||
| Aktuelle Bewertungen (a). | 630-4000 | |||||
Einer Times Host will Strom Utilizer Yuan Item | Vakuum-Circuit Breaker | 1 | 1 | 1 | 1 | 1 |
| Stromtransformator LZZBJ9 - 12 | 3 | 2 | 2 | 2 | 2 | |
| Spannungswandler RZL / REL | ||||||
| Hochdruck-Schalter (XRNP) □) | ||||||
| Erdungsschalter (EK6 / JN15-12) | 1 | 1 | 1 | |||
| Überspannungsschreiber HY5WZ - 17 / 45 | 3 | |||||
| Nutzen | Feed | Kontakt (rechts) | Kontakt (rechts) | Kontakt (links) | Kontakt (links) | |
| Schema Nummer | 011 | 012 | 013 | 014 | 015 | |
Primärroute Diagramm |
| |||||
| Aktuelle Bewertungen (a). | 630-4000 | |||||
Einer Times Host will Strom Utilizer Yuan Item | Vakuum-Circuit Breaker | 1 | 1 | 1 | 1 | 1 |
| Stromtransformator LZZBJ9 - 12 | 3 | 3 | 2 | 2 | 2 | |
| Spannungswandler RZL / REL | ||||||
| Hochdruckschalter (XRNP □) | ||||||
| Erdungsschalter (EK6 / JN15-12) | 1 | 1 | 1 | |||
| Überspannungsschreiber HY5WZ - 17 / 45 | 3 | |||||
| Nutzen | Overhead Line (rechter Kontakt) | Overhead Line (rechter Kontakt) | Overhead Ein - und Ausfahrtlinien | Overhead Ein - und Ausfahrtlinien | Overhead Ein - und Ausfahrtlinien | |
| Schema Nummer | 016 | 017 | 018 | 019 | 020 | |
Primärroute Diagramm |
| |||||
| Aktuelle Bewertungen (a). | 630-4000 | |||||
Einer Times Host will Strom Utilizer Yuan Item | Vakuum-Circuit Breaker | |||||
| Stromtransformator LZZBJ9 - 12 | ||||||
| Spannungswandler RZL / REL | /3 | 2/ | /3 | 2/ | /2 | |
| Hochdruckschalter (XRNP □) | 3 | 3 | 3 | 3 | 3 | |
| Erdungsschalter (EK6 / JN15-12) | ||||||
| Überspannungsschreiber HY5WZ - 17 / 45 | 3 | 3 | 3 | |||
| Nutzen | Spannungsmessung Surge Arrest | Spannungsmessung Surge Arrest | Spannungsmessung Surge Arrest | Spannungsmessung (links) | Spannungsmessung (rechter Link) | |
| Schema Nummer | 021 | 022 | 023 | 024 | 025 | |
Primärroute Diagramm |
| |||||
| Aktuelle Bewertungen (a). | 630-4000 | |||||
Einer Times Host will Strom Utilizer Yuan Item | Vakuum-Circuit Breaker | |||||
| Stromtransformator LZZBJ9 - 12 | 2 | 2 | 3 | 3 | 2 | |
| Spannungswandler RZL / REL | 2/ | 2/ | 2/ | 2/ | /3 | |
| Hochdruckschalter (XRNP □) | 3 | 3 | 3 | 3 | 3 | |
| Erdungsschalter (EK6 / JN15-12) | ||||||
| Überspannungsschreiber HY5WZ - 17 / 45 | ||||||
| Nutzen | Messung Das richtige Couplet | Messung Links-Couplet | Messung Links-Couplet | Messung Das richtige Couplet | Messung Links-Couplet | |
| Schema Nummer | 026 | 027 | 028 | 029 | 030 | |
Primärroute Diagramm |
| |||||
| Aktuelle Bewertungen (a). | 630-4000 | |||||
Einer Times Host will Strom Utilizer Yuan Item | Vakuum-Circuit Breaker | 1 | ||||
| Stromtransformator LZZBJ9 - 12 | 3 | Kondensator Bm12.7-16-1 3 | ||||
| Spannungswandler RZL / REL | /3 | Transformator 1 | /4 | /4 | ||
| Hochdruckschalter (XRNP □) | 3 | 3 | (XRNT) 3 | 3 | 3 | |
| Erdungsschalter (EK6 / JN15-12) | 1 | 1 | 1 | |||
| Überspannungsschreiber HY5WZ - 17 / 45 | 3 | 3 | 3 | |||
| Nutzen | Incoming Meterung | Verwendete Transformator-Schrank (Schrankbreite wird je nach Größe der verwendeten variablen Größe bestimmt) | Kondensator-Schränke | Spannungsmessung Surge Arrest | Spannungsmessung Surge Arrest | |

◆Ein Handcart Das Handkarren-Skelett besteht aus dünnen Stahlplatten, die von CNC-Werkzeugmaschinen verarbeitet und dann vernichtet und geschweißt werden. Je nach Anwendung kann der Handwagen in Schaltschalterwagen, Spannungswandlerwagen, Isolierwagen, Messwagen und andere Handwagen der gleichen Spezifikation unterteilt werden, die für die Austauschbarkeit bequem sind. Der Handwagen hat eine Isolationsposition, eine Testposition und eine Arbeitsposition im Schrank, und jede Position ist mit einer Positionierungsvorrichtung ausgestattet, um sicherzustellen, dass der Handwagen nicht beiläufig bewegt werden kann, wenn es in der oben genannten Position ist, und die Verriegelung muss freigelassen werden, wenn der Handwagen bewegt wird. |
|
◆B Busbar Der Bus führt von einem Schaltschrank zum anderen über einen Zweigbus und eine statische Kontakttabelle. Der flache Zweigbus ist an die statische Kontaktbehälter und den Hauptbus geschraubt, ohne dass zusätzliche Klemmen oder Ausbrechanschlüsse erforderlich sind. Wenn der Benutzer und das Projekt besondere Bedürfnisse haben, können die Verbindungsschrauben an der Busleiste mit Isolierung und Endkappen eingekapselt werden. Wenn die Busbar die Schaltvorrichtungsabteilung überquert, wird sie mit einer Busbarhülse fixiert. Wenn es einen internen Störbogen gibt, kann er die Ausbreitung des Unfalls auf das benachbarte Schrank begrenzen und die mechanische Festigkeit der Busbar gewährleisten. |
|
◆C Kabelzimmer Stromtransformatoren, Erdschalter, Blitzschalter und Kabel können im Kabelraum installiert werden, und abnehmbare Aluminiumplatten mit Schlitzen werden am Boden des Kabelraums vorbereitet, um die Bequemlichkeit des Baus vor Ort zu gewährleisten. |
|
◆D Relay Instrumentenraum Der Relais-Instrumentenraum wird verwendet, um verschiedene Relais, Instrumente, Signalanzeigen, Bedienschalter und andere Komponenten zu installieren Darüber hinaus kann ein kleiner Busbarraum an der Spitze des Instrumentenraums gemäß den Anforderungen des Benutzers hinzugefügt werden, und ein 16 - Wege-Steuerungsbus kann gelegt werden. |
|
◆Lock Struktur Die Verbindung zwischen der Mitteltür und dem Schrank adoptiert eine Sperrstruktur und ist mit einem Hebemechanismus ausgestattet, um die Mitteltür bequemer zu öffnen, und wenn die Mitteltür geschlossen ist, ist die Verbindungstärke zwischen ihr und dem Schrank besser, was die Fähigkeit verbessert, dem internen Bogenverbrennungstörung effektiv zu widerstehen. |
|
◆D Relay Instrumentenraum Die Tür des Instrumentenraums ist geschlossen, und der Instrumentenraum ist in der Frontsicht. | ◆Druckrelief-Gerät Wenn der Schaltschalter oder die Hauptbusbar, Kabelraum hat einen internen Störbogen, mit dem Auftreten von Elektrizität, der Luftdruck im Inneren der Schaltgeräte steigt, und nach Erreichen eines bestimmten Drucks wird die Druckfreisetzungsmetallplatte des oberen Geräts automatisch geöffnet, um Druck und Entladung Gas freizNutzentzen, um die Sicherheit des Bedieners und der Schaltgeräte zu gewährleisten. |
